今日人咨询!

走进特易资讯,获取外贸及服务动态

伊朗海关数据有哪些获取途径?有专业的海关数据平台获取吗

2025-12-15 11:38:486320

伊朗作为中东地区重要的经济体,其能源、制造业等领域的贸易需求稳定,吸引众多外贸企业布局。但伊朗海关数据获取常面临“渠道分散”“信息滞后”等问题,不少企业在寻找可靠数据时倍感困惑。当前获取伊朗海关数据的途径分为官方渠道、第三方代理与专业商用平台三类,其中专业平台凭借整合优势成为主流选择。特易外贸资讯宝作为行业代表,能提供权威且实用的伊朗海关数据服务,本文将详细解析相关获取途径与平台价值。

 

 

一、伊朗海关数据常见获取途径及特点

不同获取途径在数据可靠性、操作便捷性上差异明显,企业需结合自身需求选择,避免资源浪费。

1. 伊朗本地官方渠道:权威但使用门槛高

伊朗海关总署(IRCS)官网是数据源头,可查询宏观进出口量额、贸易政策等基础信息,部分公开数据免费获取。此外,伊朗国家统计中心也会发布年度贸易报告,用于判断市场整体规模。

但官方渠道存在诸多限制:界面为波斯语与英文,无中文适配,非专业外语使用者易出现检索误差;数据颗粒度粗,多为4位HS编码的汇总数据,缺少采购商名称、成交价格等明细字段;检索流程复杂,需注册并通过伊朗本地企业认证,国内企业操作困难;更新周期长,普遍延迟45天以上,难以反映实时市场动态。

2. 第三方代理渠道:灵活但风险较高

部分企业通过伊朗本地贸易代理、商会获取数据,这类渠道能提供一定的明细信息,如特定品类的采购商名单。代理渠道的优势在于可提供本地化解读,辅助理解伊朗贸易政策。

但其短板同样突出:数据来源不透明,无法验证是否来自海关官方,存在信息伪造风险;服务费用不规范,常因额外附加服务加价;数据覆盖范围有限,多聚焦单一品类或区域,难以满足全面市场分析需求;后续数据更新依赖代理主动性,稳定性无法保障。

3. 专业商用平台:权威与实用兼顾

专业商用平台通过官方授权获取伊朗海关原始数据,经整合清洗后形成标准化服务。特易外贸资讯宝凭借东浩兰生集团背景,成为上海市数字出海服务平台试点项目,在伊朗海关数据服务上形成显著优势,解决前两类渠道的核心痛点。

 

 

二、特易外贸资讯宝:伊朗海关数据的专业获取方案

特易资讯以“官方第一手资料+场景化功能”为核心,让伊朗海关数据查询从“困难”变“简单”,满足客户开发、市场分析等全场景需求。

1. 数据源头:官方授权确保真实完整

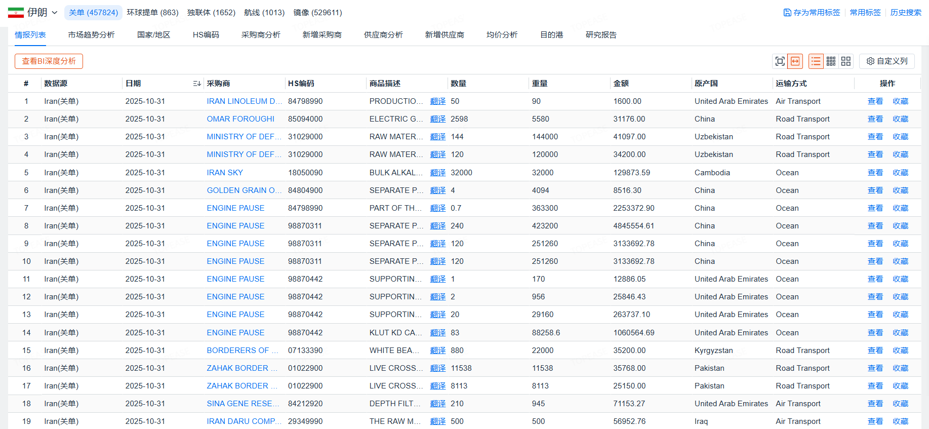
平台数据直接对接伊朗海关监管系统,与伊朗海关总署数据同源,属于官方第一手资料。商品分类精准至10位HS编码,涵盖采购商名称、成交价格、港口信息、贸易方式等完整字段,覆盖伊朗主力进出口品类如石油设备、化工产品、纺织品等。数据更新延迟控制在15天内,明确标注更新时间与覆盖范围,避免使用过时信息。

2. 功能优化:贴合国内外贸人使用习惯

针对伊朗数据查询的痛点,平台做了全方位适配:支持中文操作界面,HS编码检索可通过商品名称模糊匹配,输入“石油钻采设备”即可自动关联对应编码,无需记忆复杂代码;贸易情报列表页设有“波斯语翻译”功能,点击即可将采购商名称、商品描述等信息转为中文,消除语言障碍。

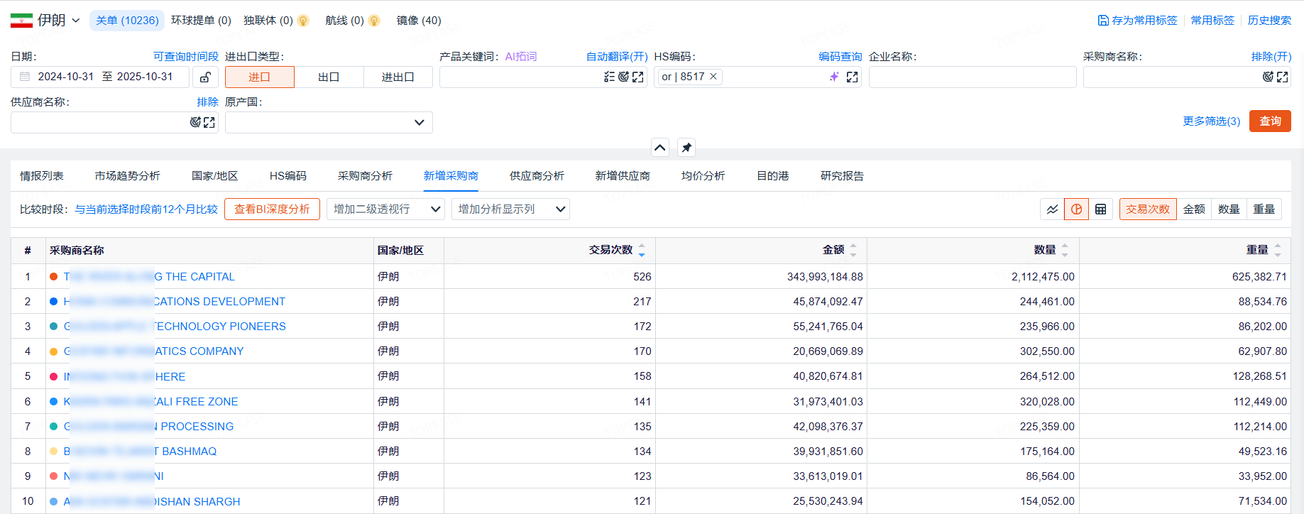
筛选功能采用可视化勾选模式,可按“贸易方向(进口/出口)+ 目标港口(如阿巴斯港)+ 采购频次”组合条件,快速定位活跃采购商。如想查询“伊朗近6个月采购≥2次的纺织品采购商”,仅需三步即可完成筛选,结果直接呈现包含联系方式的完整列表,无需手动整理。

 

伊朗单关+采购商

 

3. 分析能力:从数据到洞察的转化

平台内置BI深度分析仪表盘,将伊朗海关数据转化为直观图表:用折线图呈现某品类的月度进出口量额趋势,判断市场需求波动;用饼图展示采购商来源地分布,明确核心合作区域;用热力图标注高需求港口,优化物流布局。点击“添加BI”即可生成多维度分析报告,内容涵盖市场规模、竞争格局、潜力客户等,直接用于内部决策或客户开发方案。

 

伊朗单关-特易资讯

 

三、特易外贸资讯宝的核心价值:不止于数据查询

专业平台的优势不仅在于提供数据,更在于衔接外贸业务全流程,帮助企业将数据转化为实际订单。

1. 数据联动:补充关键商业信息

将伊朗海关数据与全球企业库联动,补充采购商的工商信息、联系人职位、社交媒体账号等核心线索,解决“有数据无对接人”的问题。针对伊朗客户,还可同步查询其贸易合规记录、信用评级等信息,降低合作风险。

2. AI辅助:提升客户开发效率

特易外贸小易AI可基于筛选的伊朗客户数据,自动分析其采购偏好,如常用贸易术语、合作供应商类型等,规划个性化开发计划;针对伊朗客户的沟通习惯,一键生成贴合需求的营销内容,邮件中会突出产品适配性与合作保障,贴合当地客户关注点。

3. 服务保障:降低使用门槛

E平台提供一对一专属客服,配套中文操作教程与伊朗数据查询视频指南,新手可快速上手;支持免费试用,企业可提前验证数据质量与功能适配性;针对伊朗贸易政策变化,如制裁相关调整,会实时推送数据解读与应对建议,帮助企业规避风险。

四、获取伊朗海关数据的实用建议

1. 优先选择官方授权平台:避免第三方代理的信息风险,特易外贸资讯宝明确标注“伊朗海关官方授权”,可通过平台公示的授权文件验证;

2. 按业务场景选择数据维度:客户开发需侧重采购商明细与联系方式,市场分析需关注量额趋势与竞争格局,平台的“场景化数据包”可直接匹配需求;

3. 结合政策使用数据:伊朗贸易政策特殊,平台“政策解读”模块可查询商品进出口限制、关税税率等信息,数据筛选时同步勾选“政策合规”条件,确保开发的客户符合相关要求;

4. 重视数据更新时效:伊朗市场变化较快,优先选择近15天内更新的数据,平台数据列表页的“更新时间”标签可直观判断。

获取伊朗海关数据的核心是“找对渠道、用对工具”。官方渠道与第三方代理存在明显局限,难以满足企业实际业务需求;特易外贸资讯宝以官方第一手数据为基础,通过功能优化、AI辅助与服务保障,让伊朗海关数据从“可获取”变为“好用、有用”,帮助外贸人精准把握伊朗市场机会,成为开拓中东业务的可靠支撑。

推荐文章

更多

化资讯为资本

特易资讯陪你一起做好外贸

Copyright © 2025 上海特易信息科技有限公司 版权所有 用户隐私协议 服务条款 备案号:沪ICP备09080027号 沪公网安备 31010402007884号

立即体验
一键拨打 立即体验